1. 서 론
2. 철도보강노반 설계 및 시공
2.1 철도보강노반 설계
2.2 철도보강노반 시공
3. 실물 정재하 시험
3.1 재하시스템
3.2 계측기
3.3 하중 재하방법
4. 결과분석
4.1 하중-침하 거동
4.2 벽체 수평변위
4.3 보강재 변형
5. 결 론
1. 서 론
도로 및 철도 노반으로서 사용되고 있는 흙 구조물에는 비탈면을 갖는 흙 쌓기, 옹벽, 보강토 옹벽등 이 있다. 흙쌓기의 경우 법면 기울기로 인하여 소요용지가 크게 필요하여 토지 보상비용 및 민원 발생 가능성이 높아진다. 철도 건설 시 흙 쌓기 노반의 높이가 높아짐에 따라, 용지 폭은 높이의 5배 이상 필요하게 된다. 따라서, 좁은 국토를 효율적으로 사용하고자 하는 측면에서 완만한 법면 기울기를 갖는 흙 구조물은 토지 이용 효율성이 낮다.
토압에 저항하는 연직형 토류구조물인 옹벽과 보강토 옹벽은 높이 증가와 함께 높이의 자승(H2)에 비례하는 토압을 받게 되어, 활동 및 전도에 저항하는 구조 적용에 대한 비용 지출이 증가하게 된다. 높이가 5m에서 10m로 2배 증가하는 경우, 토압은 4배로, 모멘트는 9배 증가하게 된다. 따라서, 이에 대한 저항 성능을 확보하기 위하여 옹벽에서는 큰 저판과 기초를, 보강토옹벽에서는 높이의 70%에 해당하는 보강재를 적용한다. 이와 같이 흙 구조물은 높이가 높아짐에 따라한 안정성 및 침하에 대한 사용성을 확보하기 어려워지며 이 문제를 해결하는데 큰 비용이 소요된다. 고속철도에 적용중인 콘크리트 노반과 같이 엄격한 허용잔류침하기준이 적용되는 경우에는 건설비용이 추가로 증가하게 된다.
본 논문에서는 보강토체와 철근 콘크리트 강성벽체를 일체화하고 옹벽의 기초를 최소화하여 철도노반으로서의 성능을 확보하고 있는 RRR공법(Tatsuoka et al, 1989, 1997, 2005)을 국내 철도설계기준에 부합하면서 보다 경제적이고 시공이 용이한 국산화 연구를 수행하였다(Kim et al, 2012). 이를 위하여 보강재 연직 간격 높이 및 짧은 보강재 길이, 벽체와 토체의 일체화 연결방법을 개량한 보강노반을 설계 시공하여 이에 대한 성능평가를 수행한 결과를 소개하였다.
2. 철도보강노반 설계 및 시공
2.1 철도보강노반 설계
Fig. 1은 보강재와 일체화된 철근 콘크리트 벽체를 보와 스프링으로 모델링한 개요도이다. 내적안정 해석에서는 보강토체의 활동파괴면을 그림과 같이 2개의 웨지로 가정하고 구한 토압과 외력에 대한 보강재의 저항력으로부터 안전율을 구한다. 안전율이 최소가 되는 파괴면을 시행착오법으로 구한 후, 동 파괴면에 대한 활동 및 전도 안전율을 구한다. 이 때 기존의 보강토 옹벽 설계 개념과는 달리 층 별 평형조건을 만족하지 못하더라고 벽체를 고려한 전체 계에서 평형조건을 만족하면 안전성이 확보되는 것으로 판단한다(Kim et al, 2013). 이 후 벽체 단면을 가정하고 토압 등 외력에 대한 단면 검토를 한 후, 원호활동 파괴에 대한 외적안정 검토를 수행한다(RRR, 2001). 안정에 대한 검토 완료 후 침하에 대한 검토를 통하여 지반개량 필요성에 대한 검토를 추가로 실시한다.
보강재 간격과 길이가 상이한 검토 단면에 대하여 열차하중에 대한 설계 검토를 수행하였다. 해석은 한국철도기술연구원에서 개발한 전용프로그램을 사용하였다. Table 1은 해석에 사용된 입력변수를, Table 2는 설계단면 Fig. 2에 대한 해석결과를 보여준다. 보강재 간격 30cm의 경우 전도에 대한 안전율이 설계기준 이하인 1.487 이었으나, 이는 0.3H의 짧은 보강재를 적용한 결과로 이에 대한 추가 보강 없이 시험을 진행하였다.
Table 2. Analysis section, conditions, and results | |||
Design section and other conditions |
Fig. 2. Analysis section | ||
Vertical spacing of reinforcement | 30 cm | 40 cm | |
Length of short reinforcement | 1.5 m (0.3 H) | 1.75 m (0.35 H) | |
Design Load | - Track load : 15 kN/m2, Train load : 35 kN/m2 (KR, 2013) | ||
Safety | Circular slip | 1.509 | 1.513 |
Overturning | 1.487 | 2.052 | |
Sliding | 1.707 | 2.070 | |
2.2 철도보강노반 시공
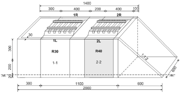
한국철도기술연구원 의왕시험동 부지에 철도 단선 노반용(높이 5m, 폭 6m, 연장 20m) 보강노반을 시공하였다. 시공의 목적은 경제성 및 일체화를 위한 시공성이 향상된 강성벽 일체형 보강노반에 대한 시공 경험 축적 및 성능평가였다.
Fig. 3은 지반조건을 포함한 시험체 평면도이다. 시험체가 놓일 현장의 지반을 확인하기 위하여 시추조사를 실시하였다. 시추조사 시 표준관입시험 9회, 지하수위 측정, 토질 물성시험을 실시하였다. 지반은 매립층(2.2m)과 풍화토층(4.7m)으로 구성되어 있으며, 통일분류법상 GM, CL, SM층으로 분류되었다. 표준관입시험 결과 N값은 6~8 범위에 있었다. 따라서, 원호 활동 안전성 확보 및 잔류 침하저감을 위하여 매립층 하부 1.5m 깊이까지 자갈로 치환하였다.
시험체 구축에는 흙과 콘크리트 510m3과 90m3가 사용되었다. 뒤채움은 상부노반 3m, 하부노반 2m로 구분 시공하였으며, 노반 시공재료는 철도설계기준에 부합되는 재료를 사용하였다. Table 3은 상하부노반 뒤채움에 사용된 흙의 공학적 특성을 보여준다. 철도연 근처 현장에서 확보한 뒤채움재의 특성을 파악하기 위하여 자연함수비, 비중, 입도분포, 전단 및 다짐시험을 실시하였다. 통일분류법에 의한 평가 결과 상부노반에 사용한 뒤채움재는 자갈질 흙(GP-GM)으로, 하부노반에 사용한 뒤채움재는 모래질 흙(SP-SM)에 속하는 것으로 확인되었다.
뒤채움재와 함께 사용된 보강재는 설계인장강도 60kN/m인 국내 생산제품을 사용하였다. 시험체는 크게 보강재 연직 간격이 30cm인 단면(R30)과 40cm인 단면(R40)으로 구성하였다. 장보강재와 짧은 보강재를 혼합하여 사용하였으며, 장보강재는 보강재 연직 간격이 30cm인 단면(R30)에서는 1.6m 간격으로, 40cm인 단면에서는 1.5m 간격으로 배치하였다. 짧은 보강재 길이는 Table 4와 같이 적용하였다.
Table 3. Properties of backfill soils | ||
Properties | Upper subgrade | Lower subgrade |
Specific Gravity | 2.64 | 2.65 |
Maximum dry density ( | 17.8 | 17.7 |
Plasticity Index | N.P | N.P |
Natural water content, | 4.9 | 8.9 |
OMC, | 11.8 | 13.5 |
Cohesion, c (kPa) | 1 | 1 |
Internal friction angle, | 31.3 | 30.6 |
USCS | GP-GM | SP-SM |
Table 4. Detailed specifications of 4 sections | ||||
Sections | Vertical spacing of reinforcement | Length of short reinforcement | Rebar placement type | Connection types |
1L | 30 cm | 1.75 m (0.35 H) | Double Reinforcement | Welding |
1R | 30 cm | 1.50 m (0.3 H) | Single Reinforcement | Hinge & Bolt |
2L | 40 cm | 2.00 m (0.4 H) | Double Reinforcement | Welding |
2R | 40 cm | 1.75 m (0.35 H) | Double Reinforcement | Wind bold wire |
Fig. 4는 보강노반 시험체에 대한 3차원 개념도로, 4개의 시험단면에 대한 상세 제원을 보여준다. 각 단면의 경계는 분리재를 설치하여 하중전달이 발생하지 않도록 구분하였다. 또한, 단면별 벽체 일체화 연결방식 및 철근 배근을 차별화하였다. Table 4와 Fig. 5는 4개 단면별로 상이하게 적용된 보강재 연직 배치간격, 짧은 보강재 길이, 철근의 배근형태와 3가지 연결방식에 대한 개념도를 보여준다. 3가지 연결방식은 용접형, 힌지 볼트형과 굵은 철사 고정형으로, 경제성 및 시공성은 후자로 갈수록 유리하며, 구조적인 일체화 정도는 전자로 갈수로 유리하다.
Fig. 6은 각 시공단계별 보강노반 형성 과정을 보여준다. 시공 과정은 크게 벽체 기초부 설치, 보강 뒷채움재 포설, 침하 수렴을 위한 방치기간 후 벽체 시공 순으로 나눌 수 있으며, 이에 대한 상세 과정은 다음과 같다.
① 기초 터파기 및 정리, ② 벽체 기초 설치, ③ 보강재 부설, 기준틀 및 유실방지막 설치
④ 쇄석자갈 및 뒤채움재 및 포설, ⑤ 다짐, ⑥ 보강재 말아감기, ⑦ ④∼⑥까지의 작업 반복
⑧ 보강토체 시공 완료, ⑨ 연결재 설치, ⑩ 벽체 철근 및 거푸집 부설
⑪ 벽체 콘크리트 타설, ⑫ 양생 및 보강노반 완성
3. 실물 정재하 시험
3.1 재하시스템
보강노반의 파괴를 고려하여 최대 재하하중은 철도노반 설계하중인 50kPa의 19.6배에 해당하는 0.98MPa으로 설정하였다. 재하프레임의 반력을 지지하기 위한 반력 앵커는 직경 12.7mm 10가닥 강연선을 사용하여 공당 최대설계반력이 1.1MN이 되도록 설계하였다. 이는 최대시험하중인 5.88MN을 상회하는 값으로 앵커 인발시험을 통하여 확인하였다. 앵커는 시험체로부터 1m 이격하여 각 시험 단면 당 6공씩, 전체 총 12공을 설치하였다. Fig. 7은 시험을 위한 재하 시스템 개요도 및 사진을 보여준다.
앵커 설치 후 노반 상면에 2×3m 크기의 재하판을 설치하였다. 유압실린더의 하중이 재하판에 고르게 분포되도록 재하판 위에 H빔을 배열하였다. 유압실린더는 2×2 배열로 4개 설치하였다. 유압실린더 상부에 하중계를 설치하고 강성 철판을 추가로 설치하였다. 반력 빔은 H형강(944x302x32x64, L=10m) 4개를 2단으로 배치하여 충분한 휨 강성을 확보하도록 하였다.
3.2 계측기
계측기는 벽체 수평변위 및 침하 측정을 위한 변위계, 보강재 변형률계, 토체내 토압변화를 측정하기 위한 토압계와 간극수압계를 설치하였다. Fig. 8과 Fig. 9는 2개 시험체에 대한 3개 시험단면(1L, 1R과 2R)에 설치된 센서 위치도이다.
하중 재하 시 연직변위와 벽체의 연직 및 수평변위 측정을 위하여 시험체 상부와 측면에 변위계를 설치하였다. 각 단면별로 1차 시험(1L-1R단면)에서는 19개소, 2차 시험 (2L-2R단면)에서는 16개소의 변위를 측정하였다. 재하판 연직변위(침하량) 4개소, 벽체 연직변위 2개소와 수평변위(1차 시험 13개, 2차 시험 10개)를 측정하였다. 또한, 시공 중 및 하중 재하 시 토압 및 간극수압 변화를 측정하기 위하여 6개의 토압계와 2개의 간극수압계를 설치하였다.
높이 1.2m 간격으로 보강재 변형률을 측정하였다. 각 층별 변형률계는 벽체에 근접한 1개소와 보강재 설치 후단부 1개소에 설치하였다. 데이터로거의 채널 수 제한으로 2L단면과 보강재 변형률 데이터는 확보할 수 없었다.
3.3 하중 재하방법
직사각형 재하판(2x3m)을 사용하여 2회 실시하였다. 하중은 Table 5와 같이 최대시험하중인 0.98MPa(=600tf)까지 재하한 후 제하하였다. 최대시험하중은 설계하중 50kPa의 19.6배에 상당하는 하중으로, 재하 하중은 재하판 상부 유압실린더에 설치된 하중계와 디지털 유압게이지로 2중으로 측정하였다. 각 하중단계별 하중 증가는 0.082MPa(=50tf)로, 최고 하중단계까지 12단계의 하중재하를 통하여 점진적인 하중 증가가 될 수 있도록 하였다.
4. 결과분석
4.1 하중-침하 거동
Fig. 10과 11은 각각 1차, 2차 정하중 재하시험의 하중-침하 거동을 보여준다. 두 시험 모두 하중-침하 관계가 초기 선형적인 거동을 보이다가, 0.49MPa 하중수준에서부터 변곡되어 항복되는 경향을 보여준다. 설계하중 50kPa의 19.6배 수준의 최대 재하하중 0.98MPa 하중에서도 명확한 노반 파괴라고 판단될 수 있을 정도의 침하는 발생하지 않았다.
1차시험 시 변곡전 하중/침하량비는 0.490MPa/5.92mm, 제하 후 소성침하량은 10.64mm이었고, 2차시험 시 변곡전 하중/침하량비는 0.490MPa/7.68mm, 제하 시 소성침하량은 13.26mm였다. 변곡전 지지력 및 제하 후 소성침하량으로부터 1차시험 단면인 1L-1R단면(보강재 연직간격 30cm)이 2L-2R단면(보강재 연직간격 40cm)보다 지지강성이 높고 소성 변형이 작은 것을 확인할 수 있었다. 1, 2차시험에서 logP-logS 지지력 산정에 의한 허용 항복지지력(안전률 2고려)은 250kPa 수준으로 평가되어, 궤도 및 열차하중이 50kPa인 점을 고려할 때 보강재 연직간격 30cm와 40cm 모두 충분한 허용지지력을 가지고 있음을 확인할 수 있었다. 따라서, 동 시험결과로부터 보강재 연직간격이 40cm인 힌지볼트형 연결방식의 일체형 강성벽 보강노반도 열차하중에 대하여 충분한 지지 성능을 확보하고 있음을 확인할 수 있었다.
4.2 벽체 수평변위
Fig. 12는 3종류의 강성벽체 연결방식 변화에 따른 재하하중과 벽체 상부(높이 4.8m)에서 측정된 최대수평변위와의 관계를 보여준다. 0.49MPa 하중이하 초기 재하단계에서의 발생 변위량은 2R > 1R > 1L > 2L의 순서로 감소하였다. 즉, 하중 재하 시 굵은철사 고정형에서 가장 큰 변위가, 용접형에서 가장 작은 변위가 발생하였다. 힌지볼트형에서는 용접형과 유사한 초기 변위 발생패턴을 보였으나, 변위 발생량은 용접형보다는 크고 굵은철사형보다는 작게 발생하였다. 굵은철사형은 초기 변위를 줄일 수 있는 방안이 필요할 것으로 판단되었다. 3가지의 연결방식 중 용접형과 힌지볼트형은 열차하중 재하 범위인 0.05MPa 수준에서 변위발생은 1mm이하로 작았다.
0.49MPa 하중보다 큰 하중 재하 시 최종 하중단계(0.98 MPa)에서의 발생 변위량은 1R > 2R > 1L > 2L의 순서로 감소하였다. 최종 하중단계에서의 발생 변위량은 적용 짧은 보강재 길이가 길수록 감소하는 경향을 보였다. 각 연결방식별 최종 하중단계(0.98MPa)에서의 최대 수평변위는 23.73mm(힌지볼트형), 14.60mm(굵은철사형), 14.37mm(용접형), 8.73mm(용접형)가 발생되어 힌지볼트형에서 가장 큰 변위가 발생한 것으로 확인되었다. 용접형과 굵은철사형은 변위 증가가 작았으나, 힌지볼트형은 상대적으로 큰 변위 증가를 관찰할 수 있었다. 이는 힌지볼트형에 1R 단면에서 1.5m의 가장 짧은 보강재 사용에 기인된 것으로 판단되었다.
동일 용접형(1L과 2L)에 대한 수평변위 발생결과로부터 보강재 연직간격 차보다는 짧은 보강재 길이가 수평변위 억제에 큰 영향을 미치는 것으로부터 확인할 수 있었다. 동일한 짧은 보강재 설치 길이 1.75m를 갖는 1L과 2R단면에서의 최종 하중단계(0.98MPa)에서의 수평변위가 동일한 수준임을 고려해 볼 때, 보강재 연직간격 차보다는 짧은 보강재 길이가 수평변위 억제에 큰 영향을 미치는 것을 다시 확인할 수 있었다. 시험에서 고려된 4개 단면 모두 최종 하중단계에서도 옹벽의 수평변위 허용기준인 0.03H(높이의 3%) 이내의 수평변위를 보여 기준을 만족하는 것으로 나타났다.
Fig. 13(a)~13(d)는 벽체 상부와 중앙 및 하단에 설치한 변위계로부터 계측한 하중단계별 수평변위 발생 변화를 보여주는 그림이다. 4개 단면 모두 벽체에서 상부 변위가 큰 외측 전도형으로 변위가 발생하였다. 벽체 변위 발생패턴은 1L단면 벽체는 외측으로 휘어지고 그 이외의 단면에서는 배부름 볼록형의 서로 상이한 형태를 보여주었다. 1L단면에서의 수평변위 발생의 특징은 0.490MPa에서 0.653 MPa로 하중 증가 시 변위가 크게 증가하였고, 0.490MPa까지의 하중 재하 시까지는 벽체 하부에서의 변위가 거의 발생하지 않았다는 점이다. 이는 1L단면에서는 용접형인 연결방식과 보강재 연직 설치간격이 30cm로 작아 짧은 보강재가 주동파괴면 외측에서 변위 저항 측면에서 충분한 역할을 하여 벽체 중앙부터 하부 영역에서의 변위 억제성능이 가장 좋았기 때문으로 판단된다.
동일한 30cm 보강재 수직설치 간격을 갖는 1R단면의 경우 짧은 보강재의 길이가 가장 짧고, 벽체 철근 배근이 단철근으로, 30cm 보강재 수직설치 간격에도 불구하고 작용토압에 대하여 1L단면과 같이 벽체하부를 견고하게 지지하지 못하여 벽체 외측으로 볼록해지는 형상을 보인 것으로 판단되었다.
상기의 결과로부터 항복이전의 낮은 하중단계에서의 벽체 수평변위 발생은 연결방식의 영향에 많이 좌우되며, 상대적으로 항복이후의 높은 하중단계에서의 벽체 수평변위 발생은 짧은 보강재의 적용 길이에 영향을 받은 것으로 평가되었다. 또한, 열차하중 수준이 작용하는 낮은 하중단계인 0.078MPa에서의 발생 수평변위로부터 1L(0.16mm), 1R(0.43mm), 2L(0.2mm) 단면의 적용 가능성은 높으나, 굵은철사 고정형인 2R(2.59mm)단면에 대해서는 추가 보완이 필요할 것으로 판단되었다.
4.3 보강재 변형
Fig. 14는 하중증가에 따른 각 층 보강재의 변형 특성을 보여준다. 전체적으로 보강재의 인장변형이 우세하였다. 높이 2.2m와 3.4m, 특히 3.4m에서 벽체 이격거리 0.7m에서는 높은 하중단계에서 상대적으로 큰 압축변형을 받았음을 확인할 수 있었다. 높이 2.2m에서는 이격거리에 따라 같은 높이라도 변형률계 설치위치에 따라 인장과 압축변형 특성이 다르게 나타났다. 이는 높이 2.2m와 3.4m가 상재하중의 분산각 이내로 높은 하중 작용 시의 전단파괴 변형이 발생하고 강성벽체가 배부름에 대하여 충분한 구속효과를 발휘하는 것으로 판단되었다.
보강재 설계 시 고려되는 보강재 변형률은 5%로, 평상시 열차하중 작용하에서의 발생 보강재 인장률은 상당히 낮은 수준이었다. 최대 인장변형은 1L 단면에서 –0.2m 높이에서 0.14%, 1R 단면에서 –0.2m 높이에서 0.11%, 2R 단면에서는 4.6m 높이에서 0.09%가 측정되어 절대값은 상당히 낮은 수준이었다. 최대 압축변형도 1L 단면에서 0.29%, 1R 단면에서 0.12%, 2R 단면에서 0.37%로 최대 인장변형보다 절대값은 크게 측정되었으나, 상당히 낮은 수준이었다. 따라서, 보강노반의 보강재 변형은 벽체가 구축되기 전 쌓기 시공단계에서 대부분 발생하고, 열차하중에 의한 보강재 변형은 설계 변형률보다 아주 낮은 수준인 것을 확인할 수 있었다. 1R 단면에서는 변형률 발생 경향은 타 단면과 유사하였으나, 설치 보강재 길이가 짧아 변형률 측정값 수준은 더욱 낮았다.
5. 결 론
보강재 연직간격 30cm와 40cm, 높이의 30~40%의 짧은 보강재를 적용한 강성벽 일체형 보강노반에 3가지 종류의 연결방식을 적용하여 실물 실대형 시험체를 시공하였다. 4개의 시험단면에 대하여 철도노반 설계하중의 19.6배에 해당하는 0.98MPa의 최대하중을 2회 재하 시 철도보강노반의 거동을 분석한 결과는 다음과 같다.
(1)보강재 연직간격 30cm와 40cm를 적용했을 때의 허용지지력에서의 차이는 크지 않았으며, 각각 250kPa 수준으로 평가되었다. 궤도 및 열차하중 수준을 고려할 때, 보강재 연직간격 30cm와 40cm 모두 충분한 허용지지력을 가지고 있음을 확인할 수 있었다.
(2)3종류의 연결방식 상이에 따른 벽체 발생 수평변위를 분석한 결과, 상대적으로 시공이 어려운 용접형과 시공성이 중간 정도인 힌지볼트형 단면의 경우 초기 발생 변위가 충분히 작은 수준에 있었으나, 시공성이 좋은 굵은철사 고정형은 초기 변위가 크게 발생되어 동 연결방식에 대해서는 추가 보완이 필요할 것으로 판단되었다.
(3)벽체 수평변위를 지배하는 요인으로는 항복이전의 낮은 하중단계에서는 연결방식에 많이 좌우되었으며, 항복이후의 높은 하중단계에서는 짧은 보강재 적용 길이에 영향을 받는 것으로 평가되어 일정수준(0.35H, 높이의 35%)의 최소보강재 길이 확보가 필요함을 확인할 수 있었다.
(4)하중재하 시 보강재에 발생하는 최대 인장변형률은 상당히 낮은 0.1% 수준이었다. 이는 쌓기 후 벽체가 시공된 상태에서는 열차하중에 의한 추가 보강재 인장변형은 낮은 수준인 것을 의미한다. 열차하중 작용 하에서의 보강재 인장률이 설계 시 고려되는 보강재 인장변형률 5%보다 상당히 낮은 수준인 것을 확인하였으므로 향 후 보다 낮은 강성의 보강재 사용이 가능할 것으로 판단되었다. 또한, 높이 2.2m와 3.4m, 벽체 이격거리 0.7m에서는 높은 하중단계에서 큰 압축변형을 받았음을 확인할 수 있었다. 이는 높이 2.2m와 3.4m가 상재하중의 분산각 이내로 높은 하중 작용 시 강성벽체가 배부름에 대하여 충분한 구속효과를 발휘하였기 때문으로 판단되었다.






)
(%)
(%)
(
)









