1. 서 론
2. SPW 공법의 설계방법
2.1 SPW 공법의 H형강 보강재 설치간격
2.2 SPW 공법의 H형강 보강재 부재력 검토
2.3 SPW 공법의 흙막이 벽체 단면 검토
3. SPW 공법의 설계요소 변화에 따른 구조해석
3.1 SPW 공법 구조해석 조건
3.2 SPW 공법의 구조해석 결과
4. SPW 공법 흙막이 벽체의 구조해석 결과 분석
4.1 H형강 보강재의 부재력 경향
4.2 SPW 공법 흙막이 벽체의 수평변위 경향
4.3 SPW 공법 흙막이 벽체의 콘크리트 강도 경향
5. 결 론
1. 서 론
굴착공사 시 주변 시설물의 안전을 강화한 법률(Law about Underground Safety Management, 2018) 제정으로 굴착공사가 진행되는 지역의 지하수위 변화와 지반침하 등을 최소화할 수 있는 흙막이 벽체 공법 선정이 매우 중요해지고 있으며, 강성이 우수하고 차수효과가 뛰어난 다양한 흙막이 벽체 공법의 개발이 요구되고 있다. 현재 국내의 많은 현장에서는 Contiguous Piles 또는 Tangent Piles 형태로 시공되는 CIP(Cast In Place Pile, 주열식 현장타설말뚝) 공법의 시공이 급격히 증가하고 있으나, CIP 공법은 독립된 말뚝을 시공하여 지하연속벽체를 형성하여야 하므로 말뚝의 수직도 불량, 기둥과 기둥 사이의 이음부 취약, 말뚝 단면 손실 등의 문제가 발생하며, 별도의 차수 그라우팅을 시공해야 한다는 단점이 있다.
독립된 말뚝을 주열식으로 시공하는 CIP 공법과 달리 말뚝을 겹쳐지도록 시공하는 SPW(Secant Piles Wall, 겹침 주열식 현장타설말뚝) 공법은 현재 개발되어 실용화가 이루어지고 있으며, 국내·외에서 많은 연구가 진행되고 있다(Shin et al., 2020a). 이에, Shin et al.(2020b)은 SPW 공법 중 하나인 RF CIP 공법과 CIP 공법에 대하여 3차원 수치해석을 실시하여 흙막이 벽체의 강성을 비교하였으며, Yoon et al.(2022)은 동일한 방법으로 흙막이 벽체의 차수 성능을 비교한 바 있다. 중국 상하이에서는 과거 20년 전부터 대심도 굴착이 필요한 지하철 현장 약 400km 구간에 SPW 공법이 사용되어 왔고(Peng et al., 2011), 뉴질랜드에서는 SPW 공법 천공 시 고강도 말뚝의 절삭이 어려우므로 저강도 콘크리트에 대한 연구를 진행하였으며, 콘크리트 말뚝의 강도는 1∼2MPa정도로도 충분하다고 하였다(Wharmby, 2010). Choi and Yoon(2007)은 홈형 강관파일과 가이드 바(Guide Bar)가 설치된 천공기를 사용하여 개량한 EJ-Pile(Excellent-Joint Pile)을 제안하였고, Sim et al.(2008)은 EJ-Pile에 대한 휨 강도시험과 투수시험을 수행하여 현장 적용성 및 안정성을 평가한 바 있다. Choi(2010)는 말뚝 연결성을 개선한 개량형 CIP 공법에 대하여 강도실험과 수치해석을 통하여 흙막이 벽체의 강성 증가를 확인하는 연구를 수행하였다. SPW 공법은 현장에서 타설되는 말뚝이 겹쳐지도록 시공하므로 별도의 차수 그라우팅을 시공하지 않아도 흙막이 벽체의 차수성을 유지할 수 있으며, 말뚝 형태로 시공되지만 일정 두께를 갖는 지하연속벽체를 축조할 수 있으므로 기존 CIP 공법이나 슬러리 월과 같은 지하연속벽체보다 시공성, 구조적 안정성, 경제성 측면에서 동등하거나 향상된 성능을 보인다(Shin et al., 2020a).
따라서 본 연구에서는 SPW 공법 흙막이 벽체의 설계요소(말뚝 간 겹침길이, 말뚝직경, H형강 보강재 규격)에 따른 구조적 안정요소(H형강 보강재의 휨응력 및 전단응력, 흙막이 벽체의 수평변위, 콘크리트 강도)를 산정하고, 설계요소와 구조적 안정요소간의 상관성을 연구하였다. 이를 위해 SPW 공법의 설계요소를 조합하여 구성이 다른 SPW 공법 흙막이 벽체를 선정하고 구조해석을 실시하였다.
SPW 공법에 대한 구조해석은 탄·소성보 해석을 사용하였으며, 동일한 해석과정을 반복하여야 하므로 사용이 간편하며 연구 및 설계분야에서 널리 사용되는 상용프로그램인 MIDAS GeoX 프로그램을 활용하였다. 해석단면은 굴착깊이를 7.5m, 흙막이 벽체 근입장을 5.0m 적용하였으며, 이때 지층조건은 굴착부의 경우 풍화토, 근입부의 경우 기반암을 적용하였다. 그리고 해석결과로부터 설계요소의 변화에 따라 발생하는 흙막이 벽체의 토압, 모멘트, 전단력, 수평변위를 얻었으며, 이에 대한 구조계산을 실시하여 구조적 안정요소를 산정하였다. 구조적 안정요소는 SPW 공법 설계요소의 조합에 따라 달라지므로 한 개의 설계요소가 동일하다는 조건으로 나머지 2개의 설계요소를 달리하여 구조적 안정요소의 변화를 확인하였으며 각 설계요소가 구조적 안정요소에 미치는 영향을 분석하였다.
2. SPW 공법의 설계방법
2.1 SPW 공법의 H형강 보강재 설치간격
H형강 보강재가 포함된 말뚝의 설치 간격(D1, m)은 말뚝의 관경(d, m)을 고려하여 식 (1)과 같이 결정한다. 여기서, 말뚝의 간격비(D2/D1)는 Fig. 1과 같은 내부마찰각(Ø, °)과 말뚝의 저항력계수(Kr)의 상관성 그래프를 이용하여 산정하며, 말뚝의 저항력계수(Kr)는 식 (2)와 같이 토압계수(K)와 흙의 단위중량(γ, kN/m3), 점착력(c, , kPa), 굴착 깊이(H, m)를 이용하여 산정한다.
2.2 SPW 공법의 H형강 보강재 부재력 검토
SPW 공법의 H형강 보강재에 대한 부재력 검토 시에는 H형강 보강재의 부재력(휨응력, 전단응력)을 고려하여 안정성을 판단한다. 이때 부재력은 굴착단계별로 SPW 공법의 흙막이 벽체에 작용하는 모멘트와 전단력을 이용하여 산정한다. 먼저, H형강 보강재의 발생 휨응력(fb, MPa)은 SPW 공법의 흙막이 벽체에 작용하는 외력에 의해 발생한 모멘트(M max, N․mm)를 이용하여 식 (3)과 같이 산정하며, 이것이 허용 휨응력(fa, MPa) 이내로 나타나는 경우 안정한 것으로 판정한다.
여기서, α는 H형강 보강재의 간격, Z는 H형강 보강재의 단면계수를 나타낸다. 또한, H형강 보강재의 발생 전단응력(Vs, MPa)은 SPW 공법의 흙막이 벽체에 작용하는 외력에 의해 발생한 전단력(V max, N)을 이용하여 식 (4)와 같이 산정하며, 이것이 허용 전단응력(Va, MPa) 이내로 나타나는 경우 안정한 것으로 판정한다.
여기서, Hw는 H형강 보강재 웨브(Web)의 길이(mm), t1은 H형강 보강재 웨브의 두께(mm)를 나타낸다.
2.3 SPW 공법의 흙막이 벽체 단면 검토
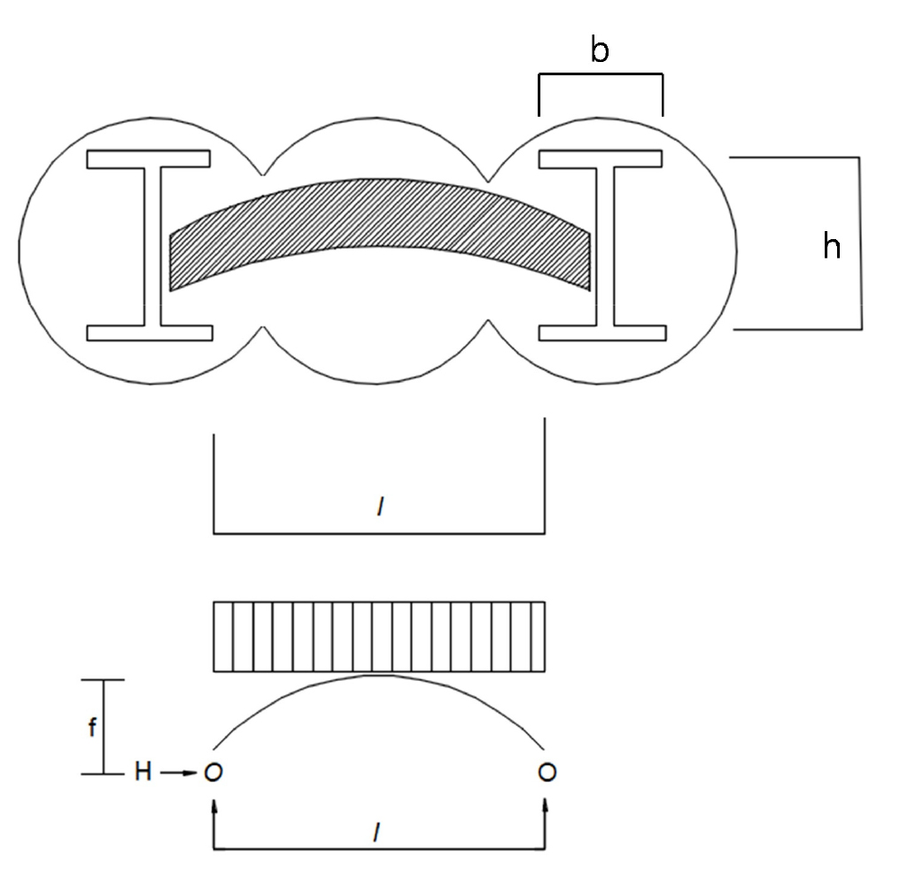
SPW 공법의 흙막이 벽체 단면검토 시에는 흙막이 벽체에 작용하는 압축응력(σreq(A), MPa)과 전단응력(σreq(S), MPa)을 고려하여 안정성을 판단한다. 우선 압축응력(σreq(A))을 산정하기 위해서는 흙막이 벽체의 단면을 Fig. 2와 같은 가상아치 단면으로 가정하고, 배면에 발생하는 토압을 등분포 하중(w, MPa)으로 고려한다. 이때, 토압(w)에 의하여 아치형 단면에는 식 (5)와 같은 수평방향 하중(PH, N)과 식 (6)과 같은 수직방향 하중(PV, N)이 발생하며, 두 하중의 조합에 의하여 식 (7)과 같은 축력(N, kN)이 발생하게 된다.
여기서, l은 자유길이(mm), f는 가상아치의 솟음량(mm)을 나타낸다. 또한, 아치형 단면에서 축력이 작용하는 단면적(A, mm 2)은 H형강 보강재의 폭(b, mm)과 높이(h, mm)를 고려하여 식 (8)과 같이 산정하며, 콘크리트 압축응력(σreq(A))은 아치형 단면의 축력(N)과 단면적(A)을 이용하여 식 (9)와 같이 산정한다.
SPW 공법의 흙막이 벽체에 작용하는 전단응력(σreq(S))은 토압(W)에 대하여 Fig. 3과 같이 전단력(VCVC, N)의 작용 면을 두 가지로 고려하여 산정한다. 이는 Fig. 3(a)와 같이 플랜지 양단부간의 거리를 자유길이(l)로 하고 H형강 보강재의 높이(h)를 단면의 두께로 고려하는 경우와 Fig. 3(b)와 같이 SPW 공법 말뚝이 좌우로 겹쳐지는 부분간의 거리를 자유길이(l)로 하고 상하로 겹쳐지는 부분간의 거리(h)를 단면의 두께로 고려하는 경우가 있다. Fig. 3의 두 가지 경우에 대해 식 (10)을 이용하여 전단력(VC, N)을 산정하고, 식 (11)을 이용하여 단면적(A)을 구한 후 식 (12)를 이용하여 얻은 검토 결과 중 최대값을 전단응력(σreq(S))으로 결정한다.
여기서, B는 흙막이 벽체의 중력방향 단위폭(=1 m)을 나타낸다. 콘크리트 강도(σck, MPa)는 식 (13)과 같이 압축응력(σreq(A))과 전단응력(σreq(S)) 중 큰 값에 안전율(Fs=3.0)을 곱하여 산정하며, SPW 공법 흙막이 벽체의 단면이 안정하기 위해서는 시공 시 적용하는 콘크리트 설계기준강도가 콘크리트 강도(σck))를 상회하여야 한다.
3. SPW 공법의 설계요소 변화에 따른 구조해석
3.1 SPW 공법 구조해석 조건
SPW 공법의 파일 해석단면은 SPW 공법 설계요소의 변화에 따른 흙막이 벽체의 부재력, 콘크리트 강도, 수평변위를 확인하기 위해 총 64가지 케이스를 선정하였다.
CASE1~CASE16은 H형강 보강재 단면을 250×250×9/14로 고정하고 말뚝직경을 600mm, 700mm, 800mm, 1,000mm로, 말뚝 간 겹침길이를 100mm, 130mm, 150mm, 180mm로 변화시켜 총 16가지의 해석단면을 고려하였다. CASE17~CASE32은 H형강 보강재 단면을 300×300×10/15로 고정하고 SPW 공법의 말뚝직경과 말뚝 간 겹침길이를 동일하게 변화시켜 16가지의 해석단면을 결정하였다. 그리고 CASE33~CASE48과 CASE49~CASE64는 H형강 보강재를 각각 350×350×12/19와 400×400×13/21로 변경하고, 동일한 방법으로 SPW 공법의 말뚝직경과 말뚝 간 겹침길이를 변화시켜 각각 16가지의 해석단면을 결정하였다. 해석단면의 명칭은 Fig. 4와 같이 “케이스명-말뚝직경-말뚝 간 겹침길이-H형강 보강재의 규격” 순서로 정의하였다.
해석단면의 지층조건은 풍화토에 자립하는 SPW 공법의 지하연속벽체로 Fig. 5와 같이 모델링하였다. 모든 해석단면은 7.5m의 동일한 굴착깊이를 적용하였으며 흙막이 벽체의 근입장은 5.0m 깊이로 기반암에 설치하였다. 이때, 풍화토 및 기반암, H형강 보강재에 적용한 설계지반정수는 Table 1과 같다.
Table 1.
Design ground constant of weathered soil and bedrock
3.2 SPW 공법의 구조해석 결과
SPW 공법 구조해석은 탄·소성보 해석을 적용하였고, 동일한 해석과정을 반복하여야 하므로 MIDAS GeoX 흙막이 벽체 해석프로그램을 사용하였으며 굴착 과정에서 흙막이 벽체에 발생하는 휨응력과 전단응력을 평가하기 위해 Fig. 6(a)와 같이 해석단면을 모델링하였다. 흙막이 벽체의 단면 말뚝배열은 Fig. 6(b)와 같이 적용하고, 탄·소성보 해석을 이용하여 설계요소의 변화에 따라 발생하는 흙막이 벽체의 토압, 모멘트, 전단력, 수평변위 결과를 얻었으며, 구조계산을 통해 구조적 안정요소를 산정하였다.
SPW 공법 흙막이 벽체의 탄·소성보 해석은 설계요소가 변하더라도 동일한 해석과정을 거쳐 계산된다. 따라서, 해석결과는 Table 2와 같이 64케이스 중 CASE1-D60-S10-H25인 경우를 대표적으로 제시하였다. 그리고 해석결과를 바탕으로 산정한 SPW 공법의 H형강 보강재에 대한 휨응력 및 전단응력은 Table 3과 같다.
Table 2.
Elasto-plastic beam analysis result
Table 3.
Result of calculating member force of SPW method reinforcement
| Division | Bending stress (MPa) | Shear stress (MPa) |
| CASE1-D60-S10-H25 | 109.385 | 29.215 |
CASE1-D60-S10-H250에 대한 흙막이 벽체 수평변위는 Fig. 7과 같이 6.401mm로 허용 수평변위량(0.002H=15, H=7.5m) 이내에서 발생하여 안정한 것으로 검토되었다. 그리고 콘크리트 강도(σck)는 최대로 발생한 전단응력(σreq(S))에 안전율 3.0을 곱하여 산정하였으며, 그 결과 1.629MPa을 상회하는 콘크리트 설계기준강도가 요구되는 것으로 검토되었다.
4. SPW 공법 흙막이 벽체의 구조해석 결과 분석
4.1 H형강 보강재의 부재력 경향
SPW 공법에 대한 구조해석 결과 분석은 SPW 공법의 설계요소에 따른 구조적 안정요소의 변화를 확인하고, 각 설계요소가 구조적 안정요소에 미치는 영향을 분석하였다.
Fig. 8은 H형강 보강재가 250×250×9/14인 경우 말뚝직경과 말뚝 간 겹침길이가 변화됨에 따른 휨응력과 전단응력의 경향을 분석한 것이다. 그 결과 최대 휨응력은 CASE4- D100-10-H25인 경우 251.026MPa만큼 발생하였으며, 최소 휨응력은 CASE13-D60-18-H25인 경우 94.539MPa만큼 발생하였다. 또한, 최대 전단응력은 CASE4-D100-10-H25인 경우 59.090MPa만큼 발생하였으며, 최소 전단응력은 CASE13-D60-18-H25인 경우 24.344MPa만큼 발생하였다. 이 결과로부터 H형강 보강재의 규격이 동일한 경우 말뚝직경이 감소하거나 말뚝 간 겹침길이가 증가할수록 부재력이 감소하는 경향을 확인할 수 있다.
Fig. 9는 말뚝 간 겹침길이가 100mm인 경우 말뚝직경과 H형강 보강재가 변화됨에 따른 휨응력과 전단응력의 변화 경향을 분석한 것이다. 그 결과 최대 휨응력은 CASE4-D100-10-H25인 경우 251.026MPa만큼 발생하였으며, 최소 휨응력은 CASE49-D60-10-H40인 경우 29.823MPa만큼 발생하였다. 또한, 최대 전단응력은 CASE4-D100-10-H25인 경우 59.090MPa만큼 발생하였으며, 최소 전단응력은 CASE49-D60-10-H40인 경우 12.496MPa만큼 발생하였다. 이 결과로부터 말뚝 간 겹침길이가 동일한 경우 H형강 보강재의 규격이 증가하거나 말뚝 간 겹침길이가 증가할수록 부재력이 감소하는 경향을 확인할 수 있다.
Fig. 10은 말뚝직경이 600mm인 경우 H형강 보강재 규격과 말뚝 간 겹침길이가 변화됨에 따른 휨응력과 전단응력의 변화 경향을 분석한 것이다. 그 결과 최대 휨응력은 CASE1-D60-10-H25인 경우 109.385MPa만큼 발생하였으며, 최소 휨응력은 CASE61-D60-18-H40인 경우 25.721MPa만큼 발생하였다. 최대 전단응력은 CASE1-D60-10-H25인 경우 29.215MPa만큼 발생하였으며, 최소 전단응력은 CASE61-D60-18-H40인 경우 10.713MPa만큼 발생하였다. 이 결과로부터 말뚝직경이 동일한 경우 H형강 보강재의 규격이 증가하거나 말뚝 간 겹침길이가 감소할수록 부재력이 감소하는 경향을 확인할 수 있다.
연구결과, H형강 보강재의 부재력은 말뚝직경이 감소, 말뚝 간 겹침길이가 증가, H형강 보강재의 규격이 증가할수록 H형강 보강재의 수평간격이 좁아지고 H형강 보강재의 단면이 증가하면서 부재력이 감소하는 것으로 나타났다. 즉, 흙막이 벽체의 모멘트 및 전단력이 작용하는 H형강 보강재의 단면 크기가 증가하기 때문에 부재력은 감소하게 된다. 그러나, 말뚝 간 겹침길이의 경우 Fig. 10에서 나타난바와 같이 조건에 따른 큰 차이는 발생하지 않는 것으로 나타났다. 따라서, H형강 보강재의 부재력에 영향을 미치는 설계요소는 말뚝직경과 H형강 보강재의 규격이라고 볼 수 있다.
4.2 SPW 공법 흙막이 벽체의 수평변위 경향
Fig. 11은 H형강 보강재가 250×250×9/14인 경우 말뚝직경과 말뚝 간 겹침길이가 변화됨에 따른 수평변위 경향을 분석한 것이다. 그 결과 SPW 공법 흙막이 벽체의 최대 수평변위는 CASE1-D60-10-H25인 경우 6.401mm만큼 발생하였으며, 최소 수평변위는 CASE16-D100-18-H25인 경우 3.449mm만큼 발생하였다. 이 결과로부터 H형강 보강재의 규격이 동일한 경우 말뚝직경과 말뚝 간 겹침길이가 증가할수록 수평변위가 감소하는 경향을 확인할 수 있다.
Fig. 12는 말뚝 간 겹침길이가 100mm인 경우 H형강 보강재와 말뚝직경이 변화됨에 따른 수평변위 경향을 분석한 것이다. 그 결과 SPW 공법 흙막이 벽체의 최대 수평변위는 CASE1-D60-10-H25인 경우 6.401mm만큼 발생하였으며, 최소 수평변위는 CASE52-D100-10-H40인 경우 3.518mm만큼 발생하였다. 이 결과로부터 말뚝 간 겹침길이가 동일한 경우 H형강 보강재의 규격과 말뚝직경이 증가할수록 수평변위가 감소하는 경향을 확인할 수 있다.
Fig. 13은 말뚝직경이 600mm인 경우 H형강 보강재와 말뚝 간 겹침길이가 변화됨에 따른 수평변위 경향을 분석한 것이다. 그 결과 SPW 공법 흙막이 벽체의 최대 수평변위는 CASE1-D60-10-H25인 경우 6.401mm만큼 발생하였으며, 최소 수평변위는 CASE61-D60-18-H40인 경우 5.401mm만큼 발생하였다. 이 결과로부터 말뚝직경이 동일한 경우 H형강 보강재 규격과 말뚝 간 겹침길이가 증가할수록 수평변위가 감소하는 경향을 확인할 수 있다.
연구결과, H형강 보강재의 수평변위는 말뚝직경이 증가, 말뚝 간 겹침길이가 증가, H형강 보강재의 규격이 증가할수록 흙막이 벽체의 강재 및 콘크리트 단면이 증가하면서 수평변위가 감소하는 것으로 나타났다. 즉, 흙막이 벽체의 강성이 증가하면서 발생되는 수평변위의 억제 효과를 나타내는 결과이다. 그러나, H형강 보강재의 규격의 경우 Fig. 12에서 나타난바와 같이 조건에 따른 큰 차이는 발생하지 않는 것으로 나타났다. 따라서, H형강 보강재의 부재력에 영향을 미치는 설계요소는 말뚝직경과 말뚝 간 겹침길이라고 볼 수 있다.
4.3 SPW 공법 흙막이 벽체의 콘크리트 강도 경향
Fig. 14는 H형강 보강재 규격이 250×250×9/14인 경우 말뚝직경과 말뚝 간 겹침길이가 변화됨에 따른 콘크리트 강도(σck)를 분석한 것이다. 그 결과 콘크리트 강도(σck)는 CASE4-D100-10-H25인 경우 최대로 발생하여 시공 시 2.749MPa이상의 콘크리트 설계기준강도를 요구하며, CASE13-D60-18-H25인 경우 최소로 발생하여 시공 시 1.273MPa이상의 콘크리트 설계기준강도를 요구하였다. 이 결과로부터 H형강 보강재의 규격이 동일한 경우 말뚝직경이 감소하거나 말뚝 간 겹침길이가 증가할수록 콘크리트 강도(σck)는 감소하는 경향을 확인할 수 있다.
Fig. 15는 말뚝 간 겹침길이가 100mm인 경우 말뚝직경과 H형강 보강재가 변화됨에 따른 콘크리트 강도(σck)를 분석한 것이다. 그 결과 콘크리트 강도(σck)는 CASE4-D100-10-H25인 경우 최대로 발생하여 시공 시 2.749MPa이상의 콘크리트 설계기준강도를 요구하며, CASE49-D60-10-H40인 경우 최소로 발생하여 시공 시 0.900MPa이상의 콘크리트 설계기준강도를 요구하였다. 이 결과로부터 말뚝 간 겹침길이가 동일한 경우 말뚝직경이 감소하거나 H형강 보강재 규격이 증가할수록 콘크리트 강도(σck)는 감소하는 경향을 확인할 수 있다.
Fig. 16은 말뚝직경이 600mm인 경우 H형강 보강재와 말뚝 간 겹침길이가 변화됨에 따른 콘크리트 강도(σck)를 분석한 것이다. 그 결과 콘크리트 강도(σck)는 CASE1-D60-10-H25인 경우 최대로 발생하여 시공 시 1.629MPa이상의 콘크리트 설계기준강도를 요구하며, CASE61-D60-18-H40인 경우 최소로 발생하여 시공 시 0.671MPa이상의 콘크리트 설계기준강도를 요구하였다. 이 결과로부터 말뚝직경이 동일한 경우 H형강 보강재 규격과 말뚝 간 겹침길이가 증가할수록 콘크리트 강도(σck)는 감소하는 경향을 확인할 수 있다.
연구결과, 말뚝직경이 감소, 말뚝 간 겹침길이가 증가할수록 콘크리트 강도(σck)는 감소하는 경향을 보인다. 이는 말뚝직경이 감소하고 말뚝 간 겹침길이가 증가할수록 흙막이 벽체 단면의 자유길이(l)가 감소하며, 흙막이 벽체 단면의 자유길이(l)는 식 (5), 식 (6), 식 (10), 식 (12)에서 보는바와 같이 부재력과 비례하기 때문인 것으로 판단된다. 또한, H형강 보강재의 규격이 증가하는 경우 콘크리트 강도(σck)는 감소하는 경향을 보였으며, 이는 H형강 보강재의 규격이 증가하는 경우 식 (8) 및 식 (11)과 같이 흙막이 벽체 단면의 단면적(A)이 증가하며, 흙막이 벽체 단면의 단면적(A)은 식 (9) 및 식 (12)와 같이 압축응력(σreq(A)) 및 전단응력(σreq(S))과 반비례하기 때문인 것으로 판단된다. 그러나, 말뚝 말뚝 간 겹침길이의 경우 Fig. 16에서 나타난바와 같이 조건에 따른 큰 차이는 발생하지 않는 것으로 나타났다. 따라서, 콘크리트 강도(σck)에 영향을 미치는 설계요소는 말뚝직경과 H형강 보강재의 규격이라고 볼 수 있다.
5. 결 론
본 연구는 탄·소성보 해석을 이용하여 SPW 공법 흙막이 벽체의 설계요소인 말뚝직경, 말뚝 간 겹침길이 및 보강재 규격을 달리하여 구조계산을 실시하였으며 그 결과 구조적 안정요소인 휨응력, 전단응력, 수평변위, 콘크리트 강도를 산정하였다. 그리고 설계요소와 구조적 안정요소간의 상호관계를 분석하였으며, 그 결과는 다음과 같다.
1) SPW 공법 흙막이 벽체의 부재력(휨응력, 전단응력) 저감을 위해서는 H형강 보강재의 단면 크기를 증가시키는 방법이 효과적이며 이를 위해서는 말뚝직경이 감소, 말뚝 간 겹침길이가 증가, H형강 보강재 규격이 증가되어야 한다. 그러나, 말뚝 간 겹침길이에 따른 차이는 크지 않으므로 설계 시에는 흙막이 벽체의 부재력을 저감시키기 위하여 말뚝직경을 감소시키고 H형강 보강재 규격을 증가시키는 방법이 가장 효과적이라 할 수 있다.
2) SPW 공법 흙막이 벽체의 수평변위 저감을 위해서는 흙막이 벽체의 강성이 증가시키는 방법이 효과적이며 이를 위해서는 말뚝직경이 증가, 말뚝 간 겹침길이가 증가, H형강 보강재의 규격이 증가되어야 한다. 그러나, H형강 보강재의 규격에 따른 차이는 크지 않으므로 설계 시에는 흙막이 벽체의 수평변위를 저감시키기 위하여 말뚝직경을 증가시키고 말뚝 간 겹침길이를 증가시키는 방법이 가장 효과적이라 할 수 있다.
3) SPW 공법 콘크리트 강도(σck)의 저감을 위해서는 H형강 보강재의 단면 크기는 증가시키고 수평간격은 감소시는 방법이 효과적이며 이를 위해서는 말뚝직경이 감소, 말뚝 간 겹침길이가 증가, H형강 보강재의 규격이 증가되어야 한다. 그러나, 말뚝 말뚝 간 겹침길이에 따른 차이는 크지 않으므로 설계시에는 콘크리트 강도(σck)를 저감시키기 위하여 말뚝직경을 감소시키고 말뚝 간 겹침길이를 증가시키는 방법이 가장 효과적이라 할 수 있다.


















