1. 서 론
2. 탄・소성 쌍곡선모델
3. 시 험
3.1 개요
3.2 배수 삼축압축시험
4. 토질매개변수 특성
4.1 탄성성분에 관련된 토질매개변수
4.2 항복기준에 관련된 토질매개변수
4.3 소성포텐셜에 관련된 토질매개변수
4.4 파괴기준에 관련된 토질매개변수
4.5 소성일에 관련된 토질매개변수
5. 수치해석
5.1 수치해석 방법
5.2 수치해석 결과
6. 결 론
1. 서 론
흙의 비선형 거동특성을 예측하기 위해서 선형 탄성해석부터 탄・소성해석 등을 이용하여 다양한 흙의 구성모델에 대한 연구가 진행되어왔다. 이와 더불어 컴퓨터의 발전으로 인해 수치해석 기법이 발달되어 흙의 구성모델을 이용한 비선형 거동특성에 대한 평가가 향상되어왔다.
흙의 구성모델은 1950년대 후반 Drucker et al.(1957)에 의해 흙의 탄・소성 모델화 지침이 제시된 이후 Roscoe and Poorooshasb(1963)을 중심으로 하는 캠브리지학파에 의해 흙의 소성체적변화 관계에 대한 연구를 통해 제안된 Cam-Clay모델을 중심으로 많은 구성모델이 제안되었다. Kondner(1963)는 구성모델에 대한 개념이 비교적 단순하고 흙의 비선형 특성을 잘 나타낼 수 있는 탄성 쌍곡선(Hyperbolic)모델을 개발하였으며 Duncan and Chang(1970)에 의해 수정된 이후 Clough and Duncan(1971)에 의해 가변 탄성 쌍곡선모델이 제안되었다. 이 모델은 축대칭조건하에서 축차응력은 최소 주응력의 어떤 값에 대한 축변형률에 의한 쌍곡선 함수로써 표현한 것이다. 그러나 이 모델은 다른 탄성모델과 같이 전단응력 아래서 체적변화가 일어나는 것을 설명하지 못하는 단점을 가지고 있다. 이러한 단점을 극복하기 위해 Lade(1972)는 비점착성 흙에 대한 탄・소성 응력-변형률 이론을 제안하였고 이후 Lade and Duncan(1975)은 입방체형 시험기를 이용한 모래의 시험결과를 기반으로 전변형률 증분을 탄성, 소성변형률 증분으로 분할하여 새로운 탄・소성 쌍곡선 모델을 제안하였다.
구성모델을 이용한 수치해석을 수행하기 위해서는 적합한 지반조건 및 경계조건을 적용하여 해석해야 한다. 또한 구성모델해석을 위한 매개변수는 지반조건에 따른 거동해석에 있어 구성모델의 예측능력과 적용성을 평가하는데 중요한 영향을 미치기 때문에 정확한 결정방법을 통해 결정되어야 한다.
현재까지 구성모델을 이용한 수치해석은 다양한 전산 프로그램들의 개발을 통해 구성모델을 프로그램에 적용하여 수행되어왔다. 그러나 기존에 개발된 다양한 흙의 구성모델은 복잡한 실제문제에 적용하기에는 불확실한 변수가 많아 신뢰성이 떨어지거나 정확한 예측이 가능하지만 매개변수 산정과정이 복잡하여 실용적이지 못하는 경우가 많다. 따라서 비교적 간편하고 신뢰성 높은 수치해석 프로그램의 개발이 필요하다.
본 연구에서는 흙의 탄・소성 구성모델 가운데 개념과 구성식이 비교적 단순하면서도 흙의 비선형 거동을 잘 나타낼 수 있는 탄・소성 쌍곡선모델을 선정하고 선정된 구성모델을 Excel 프로그램에 적용하고자 한다. 개발된 수치해석 프로그램을 통해 예측된 결과와 실내시험 결과를 비교 분석하여 구성모델의 예측능력과 개발된 해석프로그램의 적용성 및 실용성을 검토하고자 한다.
2. 탄・소성 쌍곡선모델
일반적으로 흙은 매우 작은 변형률에서부터 파괴에 이르는 매우 큰 변형률까지 비선형적 응력-변형률거동특성을 나타낸다. 이러한 거동의 비선형성과 응력 의존성을 고려하는 방법 중 가장 간단하고 실용적인 관계로 제안된 것이 쌍곡선 응력-변형률관계이다.
쌍곡선 구성모델은 최초 Kondner(1963)에 의해 점토와 모래의 비선형 응력-변형률관계를 쌍곡선 표현식으로 제안 되었다. 이를 토대로 Duncan and Chang(1970)은 점토, 사질토 등의 응력-변형률관계에 적용할 수 있으며 삼축압축시험, 평면변형률시험 등의 실내시험으로부터 토질매개변수를 간편하게 구할 수 있는 확장된 구성모델을 제안하였다(Dickin and King, 1982).
Kondner(1963)는 점토와 모래에 대한 비선형적 응력-변형률 곡선을 Fig. 1(a)와 같은 형태로 표현하였으며 이러한 곡선들을 식 (1)과 같은 관계식으로 나타낼 수 있다.
| $$\sigma_1-\sigma_3=\frac{\varepsilon_1}{a+b\varepsilon_1}$$ | (1) |
여기서, σ1과 σ3는 각각 최대주응력과 최소주응력이며, ε1은 축방향 변형률이고 a와 b는 쌍곡선모델의 매개변수이다.
Fig. 1(b)에 나타낸바와 같이 응력-변형률 곡선을 변환된 종축상에 도시하여 선형회귀분석을 함으로써 매개변수 a, b값을 보다 편리하게 결정하고 식 (1)을 식 (2)로 나타낼 수 있다.
| $$\frac\varepsilon{\sigma_1+\sigma_3}=\alpha\varepsilon_1+b$$ | (2) |
그러나 변환된 응력-변형률관계는 이론적으로 선형적인 관계를 나타내지만 실제로 낮은 변형률 구간과 큰 변형률 구간에서는 비선형적 관계를 보인다. 이러한 사실은 실제 삼축압축시험에서 응력-변형률곡선이 완전한 쌍곡선의 형태가 아님을 나타내기 때문에 Duncan and Chang(1970)은 변환된 응력-변형률곡선 가운데 일부구간에 대하여 선형회귀분석을 실시해야한다고 제안하였다.
3. 시 험
3.1 개요
백마강유역에서 채취한 모래에 대해 기본물성시험과 상대밀도시험을 수행한 결과(Kim, 1994)를 사용하였으며, 시료의 입도분포와 물리적특성은 각각 Fig. 2과 Table 1과 같다.
Table 1. Physical characteristic of Baekma River Sand (Kim, 1994)
3.2 배수 삼축압축시험
상대밀도 100%, 80%, 50%, 25%에 대해여 각각 다른 구속압력 100kPa, 200kPa, 400kPa로 배수 삼축압축시험을 실시한 결과(Kim, 1994)를 사용하였다. 이때 전단속도는 0.2mm/min으로 하였으며, 시료의 크기는 직경 50mm, 높이 100mm이다. Fig. 3은 각각 상대밀도조건에서 구속압력의 변화에 따른 배수 삼축압축시험의 결과이다.
4. 토질매개변수 특성
4.1 탄성성분에 관련된 토질매개변수
탄성성분에 관련된 토질매개변수 Kur과 n을 결정하기 위해서 삼축압축시험의 결과를 각각의 구속압력에 따라 Fig. 1과 같이 도시하여 a를 결정한다.
| $$E_t\fallingdotseq E_{ur}=\frac1a$$ | (3) |
여기서, Et와 Eur은 각각 초기와 제하-재재하시 접선기울기이다.
Fig. 4는 구속압력에 따라 결정된 Eur과 δ3를 무차원화하기 위하여 각각 대기압(pa)으로 나눈 값을 양대수지상에 나타낸 그림이다. 그림에서 나타낸 바와 같이 토질매개변수 Kur은 σ3/pa=1일 때 Eur/pa의 절편 값으로 n은 직선의 기울기로 결정할 수 있다. 그리고 이러한 관계는 식 (4)와 같이 표현된다. Table 2에서는 상대밀도 변화에 따른 토질매개변수 Kur과 n의 변화를 나타내었다. 표에 나타낸바와 같이 Kur은 상대밀도 변화에 따른 영향이 미소하여 일정한 값으로 나타나며, n은 상대밀도가 증가함에 따라 일정하게 증가하는 경향을 보이고 있다.
| $$E_{ur}=K_{ur}\;\cdot\;p_a\;\cdot\;\left(\frac{\sigma_3}{p_a}\right)^n$$ | (4) |
Table 2. Parameter of Backma River Sand (Kur, n)
| Parameter | Dr (%) | |||
| 25.0 | 50.0 | 80.0 | 100.0 | |
| Kur | 407 | 407 | 407 | 407 |
| n | 0.50 | 0.60 | 0.70 | 1.00 |
4.2 항복기준에 관련된 토질매개변수
항복기준에 관련된 함수 f는 응력불변량을 통해 식 (5)와 같이 표현된다.
| $$f=\frac{I_1}{I_3}$$ | (5) |
여기서, I1은 제1응력불변량으로 식 (6)과 같고 I3는 제3응력불변량으로 식 (7)과 같다.
| $$I_1=\sigma_1+\sigma_2+\sigma_3$$ | (6) |
| $$I_3=\sigma_1\;\cdot\;\sigma_2\;\cdot\;\sigma_3$$ | (7) |
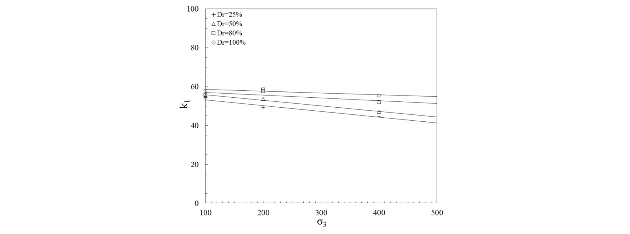
계산된 응력불변량을 이용하여 항복기준에 관련된 토질매개변수 k1은 식 (8)로 구할 수 있다. f는 정수압 응력상태 27에서부터 파괴 시 k1가지 다양하게 변화한다. Fig. 5는 구속압력의 변화에 따른 k1의 변화를 나타낸 것이다. 그림에서 나타낸바와 같이 σ1/pa=1일 때의 절편 값을 k1으로 결정한다. k1은 상대밀도가 증가함에 따라 다소 증가하는 경향을 보이고 있다. Table 3은 상대밀도 변화에 따른 k1의 변화를 나타내었다.
| $$I_1^3-k_1\;\cdot\;I_3=0$$ | (8) |
Table 3. Parameter of Backma River Sand (k1)
| Parameter | Dr (%) | |||
| 25.0 | 50.0 | 80.0 | 100.0 | |
| k1 | 49.18 | 51.98 | 55.07 | 57.32 |
4.3 소성포텐셜에 관련된 토질매개변수
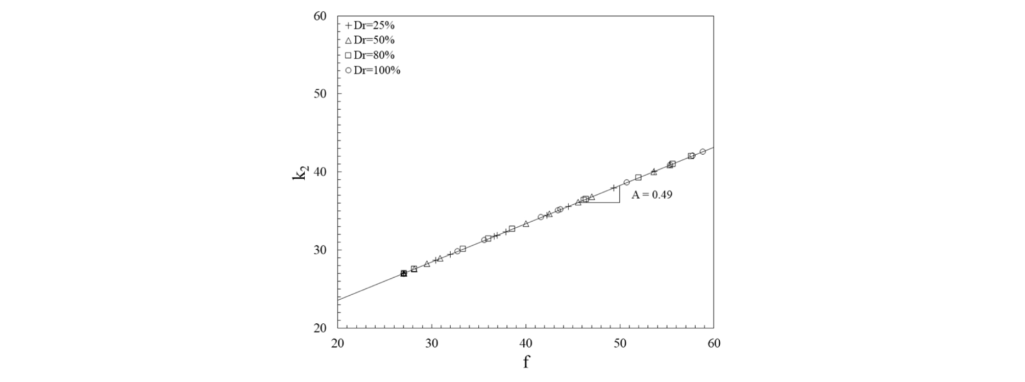
소성포텐셜함수(g)에 관련된 토질매개변수 A는 k2와 f의 그래프상에 도시하여 선형적 관계의 기울기로부터 결정할 수 있다. k2는 삼축압축조건(σ1>σ2=σ3)에 대해 식 (9)로부터 다음과 같이 구할 수 있다.
| $$k_2=\frac{3I_1^2(1+\nu^p)}{\sigma_3(\sigma_1+\nu^p\sigma_3)}$$ | (9) |
여기서, νp는 소성 포아송 비로서 식 (10)과 같이 표현된다.
| $$\nu^p=-d\;\varepsilon_3^p/d\varepsilon_1^p$$ | (10) |
Fig. 6에 나타낸 바와 같이 종축에 k2를 횡축에 f를 도시하여 나타낸 관계를 선형회귀분석을 통해 얻은 기울기를 식 (11)를 통해 토질매개변수 A로 결정한다. A는 구속압력의 변화에 따라 일정한 편차를 나타내지만 상대밀도 변화에 따른 영향은 미소하여 일정한 값을 가진다. Table 4는 상대밀도 변화에 따른 A의 변화를 나타내었다.
| $$k_2=Af+27(1-A)$$ | (11) |
Table 4. Parameter of Backma River Sand (A)
| Parameter | Dr (%) | |||
| 25.0 | 50.0 | 80.0 | 100.0 | |
| A | 0.49 | 0.49 | 0.49 | 0.49 |
4.4 파괴기준에 관련된 토질매개변수
파괴기준에 관련된 토질매개변수 rf를 결정하기 위해 삼축압축시험의 결과를 전소성일(Wp)과 응력수준(f)사이의 고유한 쌍곡선 관계로 식 (12)과 같이 나타낸다.
| $$W_p=\int\left\{\sigma_i\right\}^T\left\{d\varepsilon_i^p\right\}$$ | (12) |
여기서, {σi}T{dεip}는 변형증분 dεip동안의 단위체적당 소성일이다. 각각의 구속압력에 대해 계산된 전소성일과 응력수준을 Fig. 1(a)와 같이 나타내고 그래프의 초기접선기울기를 1/aʹ, ft에서 극한값까지를 1/bʹ로 결정한다. 또한 Fig. 1(b)와 같이 종축을 (Wp/f-ft)로 변환하여 얻은 직선을 선형회귀분석하여 절편을 aʹ, 기울기를 bʹ로 결정할 수 있다.
Fig. 7은 구속압력의 변화에 따라 (Wp/f-ft)와 Wp를 도시하여 선형 회귀분석하여 나타낸 것이다. 선형회귀분석 결과의 기울기 bʹ은 식 (13)과 같이 극한응력수준으로 표현된다.
| $$b'=\frac1{{\left(f-f_t\right)}_{ult}}$$ | (13) |
토질매개변수 rf는 소성일과 응력수준으로 구성된 그래프의 절편 bʹ값과 앞 절에서 구한 토질매개변수 k1을 이용하여 식 (14)를 통해 결정할 수 있다.
| $$r_f=b'(k_1-f_t)$$ | (14) |
Fig. 8은 구속압력변화에 따른 rf의 변화를 나타내었다. 그림에 나타낸바와 같이 구속압력의 증가에 따라 미세하게 증가하는 것을 알 수 있으나 그 차이가 미소하여 구속압력에 무관한 것으로 생각하여 여러 개의 rf값을 평균하여 결정할 수 있다. Table 5는 상대밀도변화에 따른 rf의 변화를 나타내었다.
Table 5. Parameter of Backma River Sand (rf)
| Parameter | Dr (%) | |||
| 25.0 | 50.0 | 80.0 | 100.0 | |
| rf | 0.854 | 0.872 | 0.883 | 0.897 |
4.5 소성일에 관련된 토질매개변수
소성일의 증분 함수 aʹ에 관련된 매개변수를 m,l을 결정하기 위해 소성일과 응력수준의 관계를 선형회귀분석하여 얻은 aʹ와 구속압력(σ3)를 각각 대기압(pa)로 나눈 값을 Fig. 9와 같이 양대수지상에 나타낸다. Fig. 9에 나타낸바와 같이 매개변수 m은 σ3/pa=1일 때의 절편 값이고 l은 직선의 기울기로부터 결정할 수 있다. 이러한 선형적인 관계는 식 (15)와 같이 표현된다. Table 6은 상대밀도 변화에 따른 m과 l의 변화를 나타내었다. 표에 나타낸바와 같이 m은 상대밀도 증가에 따라 일정한 편차로 감소하는 경향을 보이고 있다. l은 상대밀도 증가에 따라 다소 증가하는 경향을 보이고 있다.
| $$a'=m\;\cdot\;p_a\;\cdot\;\left(\frac{\sigma_3}{p_a}\right)^l$$ | (15) |
Table 6. Parameter of Backma River Sand (m, l)
| Parameter | Dr (%) | |||
| 25.0 | 50.0 | 80.0 | 100.0 | |
| m | 1.70E-03 | 1.50E-03 | 1.30E-03 | 1.10E-03 |
| l | 0.99 | 1.08 | 1.14 | 1.18 |
5. 수치해석
5.1 수치해석 방법
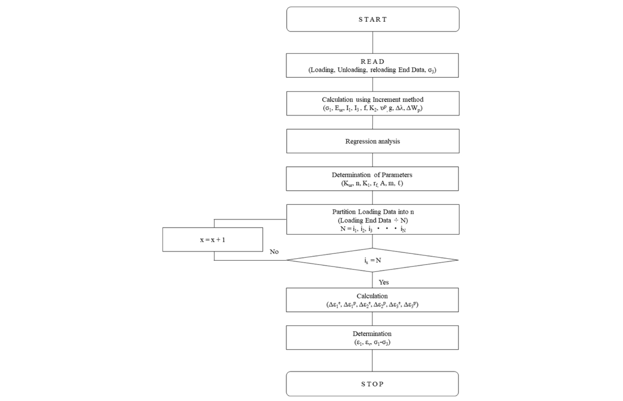
현재까지 개발된 수치해석 프로그램은 매우 복잡하고 사용자가 프로그램을 구동하기 위해서는 별도의 전문적인 지식이 요구된다. 또한 이를 수작업으로 수행하기에는 비교적 많은 시간이 소요될 뿐만 아니라 다소 오차가 유발될 우려가 있다. 따라서 본 연구에서는 현재 가장 보편화된 프로그램 중 하나인 Excel을 이용하여 구성모델이 적용된 수치해석 프로그램을 적용하고자 한다.
탄・소성 쌍곡선모델을 구성하고 있는 각각의 개념 및 조건을 Excel에 적용시키기 위해 탄성거동, 항복기준, 파괴기준, 소성포텐셜, 소성일에 관련된 함수를 수식화하여 프로그램을 구성한다. 각각의 조건에 따라 결정된 토질매개변수를 바탕으로 증분법을 사용하여 주어진 경계치 또는 가해야할 하중을 여러 단계로 분할하여 각각의 하중증분에 대한 변형률 증분을 계산한다. 계산된 변형률 증분을 수렴시키는 방법으로 응력-변형률 관계를 추적하여 비선형 응력-변형률거동을 예측한다. Fig. 10은 본 연구에서 사용된 토질매개변수 결정과 수치해석과정의 흐름도이다.
5.2 수치해석 결과
본 연구에서는 비교적 개념과 구성식이 단순하면서도 비선형 응력-변형률거동특성에 대해서 잘 나타낼 수 있는 탄・소성 쌍곡선 구성모델을 Excel을 통해 수치해석 프로그램을 개발하였다. 실내시험결과를 통해 결정된 토질매개변수를 본 연구에서 개발된 프로그램에 적용하여 상대밀도변화에 따른 구속압력별 응력-변형률거동과 체적변형률거동을 예측하였다. Fig. 11에서 각각 실선은 수치해석으로부터 결정된 예측결과이며, 점선은 실내시험으로부터 얻은 측정치이다. 그림에 나타난 바와 같이 축 변형률에 대한 축차응력은 비교적 잘 일치하는 경향을 나타내지만 축 변형률에 대한 체적변형률 관계에서는 예측결과가 시험결과보다 과소평가되고 있는 경향을 나타낸다. 이는 탄・소성 쌍곡선 모델이 높은 변형률 구간에서 전단응력 작용 시 체적변형 및 변형률 연화과정을 표현하기 어려운 한계점을 가지고 있기 때문이다. 그러나 공학적인 측면에서 설계 시 요구되는 범위인 낮은 변형률 구간에서의 응력-변형률 및 체적변형률 관계를 예측함에 있어 정확성 높은 결과를 나타낸다. 따라서 예측된 결과와 측청치를 비교・분석한 결과 탄・소성 쌍곡선 모델은 실용성 및 정확성 측면에서 유용하게 활용 가능한 구성모델이라 판단된다.
6. 결 론
흙은 매우 작은 변형률에서부터 파괴에 이르는 매우 큰 변형률까지 비선형적 거동특성과 응력 의존성을 고려하는 방법 중 가장 간단하고 실용적인 관계로 제안된 탄・소성 쌍곡선 구성모델을 선정하여 Excel을 이용하여 수치해석 프로그램을 개발하였다. 본 연구에 사용된 시료는 백마강 유역에서 채취한 모래를 이용하였으며 상대밀도 25%, 50%, 80%, 100%조건에서 구속압력을 달리한 일련의 배수삼축압축시험을 수행한 결과로부터 각각의 토질매개변수 결정하였다. 상대밀도에 따른 토질매개변수의 변화특성을 고찰하였고 결정된 토질매개변수를 이용하여 수치해석한 결과와 실내시험 결과를 비교하여 탄・소성 쌍곡선 구성모델의 예측정도를 파악하고자 하였다. 그 결과 얻은 결론은 다음과 같다.
(1) 탄성성분을 나타내는 토질매개변수 중 Kur은 상대밀도의 변화에 따른 영향이 거의 없으며, n은 높은 상대밀도에서 일정하게 증가하는 경향을 보이고 있음을 확인할 수 있다.
(2) 항복기준에 관련된 토질매개변수 k1과 파괴기준을 나타내는 토질매개변수 rf는 상대밀도의 증가에 따라 일정하게 증가하는 경향을 보이고 있다.
(3) 소성포텐셜에 관련된 토질매개변수 A는 상대밀도의 영향이 작은 것으로 확인할 수 있고, 소성일에 관련된 토질매개변수 m은 상대밀도의 증가에 따라 일정하게 감소하는 경향을 나타내며 l은 상대밀도의 증가에 따라 증가하는 경향을 확인할 수 있다.
(4) 결정된 토질매개변수를 이용하여 수치해석한 결과 축 변형률에 대한 축차응력은 각각의 상대밀도조건에서 측정치와 예측치가 양호하게 일치하는 것을 확인하였다. 체적변형률은 상대밀도가 작은 경우 측정치와 예측치가 일치하는 경향을 보이고 있으나 상대밀도가 큰 경우에는 체적변형률 예측치가 측정치보다 다소 작게 나타나는 경향을 보이고 있다.
(5) 탄・소성 쌍곡선 모델은 높은 변형률 구간에서 전단응력 작용 시 체적변형 및 변형률 연화과정을 표현하기 어려운 한계점을 가지고 있으나 공학적인 측면에서 요구되는 범위에서 응력-변형률 및 체적변형률 관계를 예측함에 있어 정확성 높은 결과를 나타낸다. 따라서 탄・소성 쌍곡선 모델은 실용성 및 정확성 측면에서 유용하게 활용 가능한 구성모델이라 판단된다.













