1. 서 론
2. 관련이론
2.1 전자기장 펄스의 영향
2.2 슬러리류 유동특성
3. 실험조건
3.1 실험현장
3.2 실험장치
3.2.1 Dredging Ship
3.2.2 Electro-Magnetic Force Generator
3.2.3 Measurement and Monitoring
4. 실험 결과
4.1 실험 결과
4.1.2 데이터 샘플링
4.2 실험 결과 분석
4.2.1 2015년 11월 테스트 데이터
4.2.2 2016년 1월 테스트 데이터
5. 결과 분석 및 결론
1. 서 론
준설공정에 있어 송토 거리의 증가는 운송비용과 방법, 효율 및 실현 가능성 등의 많은 문제점을 안고 있으며, 이를 해결하기 위한 많은 연구들이 진행 중이고, 현재 가장 확실한 대안은 중계펌프를 사용하여 다단 압송을 통해 송토하고 있는 실정이다.
그러나 주지하다시피 다단 펌프 제어 및 유지관리 등에 있어 많은 추가비용이 필요하고, 그 기술적 난이성 등으로 인해 실제 시공 현장 적용 시 필연적으로 공사비가 증가되는 것을 알 수 있다.
본 연구는 국토교통부의 “환경 친화적 준설토 확보, 매립 및 운송거리 30km 이상 급 이송기술개발” 사업의 일환으로 준설토의 고효율 이송기술 개발을 위한 목적으로 진행된 실험연구결과이다. 기존 소규모 현장에서 전자기파 인가 시 유동효율 개선에 대한 영향 평가(Kim et al., 2014)를 통해 확인된 결과를 실 현장 규모에서의 실험을 통해 검증하고 그 효과를 분석하여 실제현장에서의 전자기장 인가의 영향성을 고찰해보고자 한다.
기존 연구 결과를 검토해 보면 유동하는 유체에 전자기장을 인가하여 그 흐름을 제어하고자 하는 연구는 오랜 시간 많은 연구자들에 의해 진행되어 왔으며, 상당히 일반적인 기술이라고 할 수 있다(Choi et al., 2014, Yu et al., 1998, Su and Wu, 2003, Afshin et al., 2010).
특히 Brown et al.(2000)의 연구는 특정한 전자기 펄스의 주파수 변조에 의하여 유체의 특성이 변화하는 효율을 제어할 수 있다는 의미 있는 연구결과를 제시하였다.
이런 선행 연구들은 대부분 의미 있는 수치들을 제시하고 있지만, 작은 규모의 실내 실험으로, 굉장히 미세한 입자에 대한 영향만을 판단하는 데에 초점이 맞추어져 있어서 실제 기술의 현장 적용 및 실용화에서는 의미 있는 결과를 내지 못하고 있는 실정이다.
본 연구는 저자들의 선행 연구인 1km 급 규모의 현장 실험을 바탕으로 8.5km 급 실 현장에서의 실험을 통해 관련 기술의 실용화 가능성을 검토하고, 현장에서의 매개변수를 고려하여 실험설계 및 실험데이터의 검증을 진행하였다.
2. 관련이론
2.1 전자기장 펄스의 영향
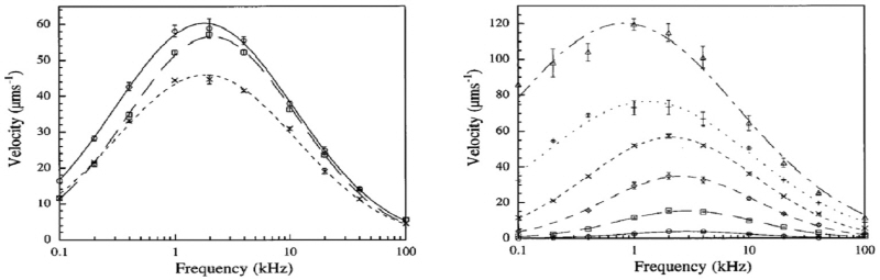
기존 선행 연구들에서는 영구자석 등을 활용하여 전자기장을 인가하고 이를 바탕으로 작동유체의 점성 및 표면장력 등의 변화를 통해 슬러리류의 이송 효율을 개선해 왔으나(Yu et al., 1998, Su and Wu, 2003, Afshin et al., 2010),영구자석을 통해 전자기장을 인가하여 유체에 영향을 주는 데에는 한계가 있으며, 그 효과 또한 미미한 수준이다. 이에 대해 영국의 A.B.D. Brown 등은 Fig. 1과 같은 실험 장치를 고안하여 유체에 특정한 전자기 펄스 인가시의 영향성을 고려하였다(Brown et al., 2000).
전극(Electrodes)을 통해 전자기 펄스를 인가하고, 이러한 전자기장 내에서 유체의 특성변화를 관찰한 결과 유체의 특성변화는 Fig. 2와 같이 주파수에 상당한 의존성을 보이고 있음을 밝혀내었다.
Fig. 2의 왼쪽 그림은 일정한 전압포텐셜을 유체에 실험 전, 실험 도중 실험 후 다시 재 인가하여 그 경향을 측정한 값이며, 오른쪽 그림은 각각의 전압포텐셜을 변화시켜 가며, 전극의 펄스 주파수를 변화시켰을 때의 유속 변화를 측정한 값이다. 이 연구 결과를 통해 단순히 전자기장만을 인가하는 것이 아니라 배관에 특정 주파수 성분의 전자기장을 인가하여야 그에 대한 영향이 극대화 된다는 것을 알 수 있다.
2.2 슬러리류 유동특성
본 연구진들은 선행연구를 통해 슬러리류의 유동 특성에 대해 정의하고 이를 판단하기 위한 유동특성 분석 실험을 수행하였다(Kim et al., 2014). 이중 유동상태를 결정짓기 위해 가장 중요한 부분은 유동이 균질유동인지 비 균질 유동인지의 여부이다. 이러한(Fig. 3) 배관 내 유동이 발달한 경우의 속도에 관한 식은 실험적으로 제안되며 먼저 충전 고정 층으로 인한 압력강하는 Ergun식을 사용하여 다음과 같이 표현된다.
(1)
여기서,
: 압력강하 (bar)
L : 단위 길이 (m)
: 점도(Viscosity)
: 평균유속 (m/sec)
: 공극율
: 입자 형상계수
: 입자의 직경 (mm)
: 밀도 (
)
준설토의 입자들의 이송이 시작되는 초기 유동화 순간에 대해 이 식을 적용하면
(2)
과 같이 나타낼 수 있으며, 입도가 매우 작은 입자로 구성된 충전 층 즉 Rep < 1인 경우는 다음의 경험식으로 나타낼 수 있다.
여기서
: 입자의 침전속도 (m/sec)
(3)
위의 식을 바탕으로 충전 유동층이 발달하기 위한 침전 속도를 추정할 수 있으며, 준설토 이송 시 임계속도를 판단해 낼 수 있다(Kim et al., 2014).
여기서 보다 중요한 것은 속도분포와 함께 배관 내 입자의 농도분포(Concentration profile) 이다. 농도는 유속에 비하여 훨씬 계측이 어렵고, 특히 농도의 분포는 현재 계측장비나 시스템으로 데이터를 실시간으로 획득하기가 불가능하다. 따라서 계측된 유속 분포를 통해 농도 분포를 유추하여 유동의 특성을 정의하여야 한다.
이 때 유속과 농도분포사이의 관계식을 정의하기 위해 Durand와 Condolios에 의해 제안된 식을 사용하여 유속분포와 농도분포사이의 관계를 유추할 수 있다(Durand, 1953).
(4)
여기서
는 물과 슬러리의 압력강하량이고,
는 수송되어지는 슬러리의 농도이다.
준설토 이송을 위한 배관 및 펌프 선정 등에 있어 이 임계속도와 유동특성, 즉 농도분포에 의한 균질 및 비 균질유동여부는 매우 중요하며, 이를 고려하여 설계가 이루어져야 한다. 만약 전체 배관 내 유동 속도가 임계속도 이하가 된다면 관내의 입자들은 토출되기 전에 모두 침강하여 배관은 폐색이 일어나게 된다.
그러나 평균속도가 임계속도 이상이라고 하여도, 점성경계층의 속도는 언제나 임계속도 이하가 되기 때문에 배관 표면부에 침강은 항상 발생하게 되고, 이것이 Moving Bed를 형성하게 된다. 이러한 흐름에 있어 대표적인 배관 내 유속 프로파일은 다음의 Fig. 4(a)와 같다.
Fig. 4에서 보다시피 배관 내 유동이 형성되면 배관의 아래쪽은 moving bed의 영향으로 유속이 현저히 저하되는 현상을 보이게 된다. 이에 대한 Concentration profile은 Fig. 4의(b)와 같이 발달하게 된다.
3. 실험조건
3.1 실험현장
본 연구를 위한 현장은 군장항 항로유지준설 구간이며, 송토는 새만금 매립지까지 총 배관길이 8.5km 구간에서 실시하였다. 대상 준설선은 20,000HP의 컷터헤드 방식 준설선으로 대상 사이트의 지질조건 검토를 통해 준설 조건과 상태를 파악하여 실험을 수행하였다. 또한 실험에 관련된 파라미터를 설정하고, 이를 획득하기 위한 스테이션 및 계측 시스템을 구축하여 실험데이터의 각 케이스별 데이터를 분석하였다.
3.2 실험장치
3.2.1 Dredging Ship
본 연구를 위해 사용한 준설선은 20,000HP급 컷터헤드 준설선으로써 준설토의 흡입 및 송토를 위해 3개의 펌프를 사용하고 있으며, 각각의 동력계통은 Fig. 6과 같다.
3.2.2 Electro-Magnetic Force Generator
배관내부의 유동 저항을 감소시키기 위한 방법으로 전자기력을 배관 내에 인가시키는 장치를 사용하였으며, 준설선의 선상관(내경:900mm/외경:950mm)에 Inductor를 설치하여 시스템을 구성하였다. 이 장치의 사양은 Table 1과 같다. 이 장치는 독일 IFT사가 제조한 Fluid-Liner 19256S모델로써 최대 10A, 1kHz 전기 펄스 인가가 가능하며 최대 6개의 출력을 통해 Inductor 연결이 가능하다(Kim et al., 2014).
3.2.3 Measurement and Monitoring
유동상태 평가 및 전자기장의 효과 판단을 위해서 가장 중요한 파라미터는 준설선의 동력 측정과 이에 따른 배관 내 유동파라미터의 변화이다. 준설선은 시간에 따른 운항조건의 변동 및 준설 물질의 성분변화 등을 가져오게 되므로 이를 제어하기란 쉽지 않은 실험방법이므로, 본 연구에서는 실험케이스를 늘려 각각의 운전조건에 대응하는 유동상태를 측정하여 데이터를 비교분석하는 방법을 택하였다.
이를 위하여 운전조건 분석을 위해 운전상태의 파라미터를 시각별로 기록하고, 이에 대응하는 시점의 계측데이터를 비교하여 전자기장 인가 전후의 동력 vs. 준설량의 상태곡선을 획득하였다. 본 연구를 위한 실험에서 주요한 데이터는 크게 2가지로 입력과 출력 데이터로 구분할 수 있다.
1) 운전조건(입력) : 모터 RPM, 동력, 배관압력
2) 유동조건(출력) : 유속프로파일, 유량 등
여기서 운전조건은 CCTV 카메라를 통해 데이터를 획득하여 각 시간대 별로 데이터를 분석하였다.
운전 조건 파라미터는 Table 2에서와 같이 각각의 시각에 대한 펌프의 운전 변수들과 이때 각 펌프에 걸리는 압력강하량 및 커터헤드의 운전조건을 들 수 있다.
유동 상태 유동조건과 관계되는 파라미터를 획득하기 위하여 토출구에 계측 스테이션을 설치하고 여기서 유동조건과 관련된 데이터들을 확보하기 위하여 Fig. 11과 같은 계측 시스템을 구축하였다.
출구 쪽에서의 주요 파라미터는 유속프로파일 및 준설량과 관계된 밀도유량이다. 여기서 밀도유량은 밀도와 유체의 유량을 통해 전체 준설량을 계산하게 된다. 또한 표면장력계를 통해 샘플링 된 준설 유체의 입도 및 점성 등을 모니터링 하여 유동상태 방정식의 파라미터를 획득하였다.
4. 실험 결과
4.1 실험 결과
본 실험은 EMF 장치의 적용을 통해 실제 배관 내에 유동하는 유체의 상태를 제어하고자 하는 것으로써 이미 소규모 준설 및 이송현장(500~1,000m)에 적용했던 기술의 실 현장 적용을 평가하는 것으로써 기본적인 데이터 처리 방법은 동일하나 기존 실험과의 차별성은 실 현장의 경우 운전 조건을 제어 할 수 없기 때문에 같은 운전조건 상태 하에서의 데이터를 비교해야 하는 문제가 있다. 이를 위해 샘플링 된 유동 데이터와 운전조건 데이터를 비교하여 같은 운전 조건하에서의 데이터만 취합하여 데이터 분석을 실시하였다.
실험은 2015년 11월부터 2016년 1월까지 진행되었으며, 그 중 가장 유사한 토질(실트질) 및 운전조건이 유사한 4일, 19일, 20일 데이터와 자갈 함유량이 큰 2016년 1월 5일 데이터를 중심으로 데이터를 분석하였다.
Fig. 12는 1일치 데이터의 경향을 나타내는 그래프로써 최초 운전을 시작한 후 2시간은 EMF의 인가 없이 준설작업을 진행하고, 40분의 간격을 두고 EMF를 인가한 후 준설량의 변화를 계측하였다.
4.1.2 데이터 샘플링
데이터 샘플링 방법은 기존 실험에서와 동일하게 1일치 샘플링 데이터 중 Fig. 13에서와 같이 Peak value를 중심으로 2분 동안의 준설량을 기준으로 데이터를 샘플링하여 평균 준설량을 확보하고, 이때의 동력 값을 비교하여 동력과 준설량 사이의 관계를 파악하였다(Kim et al., 2014).
4.2 실험 결과 분석
4.2.1 2015년 11월 테스트 데이터
실험 결과 중 2015년 11월 4일, 19일, 20일에 걸쳐 진행된 테스트는 시험케이스로 진행되어 준설 깊이가 깊지 않고, 토질에 자갈이 많지 않은 구역을 중심으로 진행되었다. 1일치 데이터를 EMF 인가 전후로 하여 준설량과 준설선 동력 사이의 관계를 비교하였다.
Fig. 14의 실험결과를 분석해 보면 EMF 인가 이후 동일 준설량 대비 소요 동력이 감소하며, 동일 동력 인가 시 준설량이 증가하고 있음을 나타낸다. 즉 EMF 인가 시 동력 대비 준설량의 그래프에 있어서 회귀식의 기울기가 EMF 인가 후 증가되는 것으로 나타나고 있다.
이러한 결과를 종합해 보면 Table 3과 같이 동력효율이 증가했음을 알 수 있다.
Table 3. Operation parameter of dredging ship | |||
4th Nov. | 19th Nov. | 20th Nov. | |
Efficiency Increasing | 29.96% | 10.19% | 28.30% |
4.2.2 2016년 1월 테스트 데이터
2016년 1월 테스트 데이터 역시 2015년 11월 테스트의 경우와 같이 데이터 샘플링 과정을 거쳐 데이터를 비교하였다. 다만 샘플군의 숫자를 증가시켜 비교하여 1주일 데이터에 대한 평균 데이터 샘플링을 통해 50개 정도의 샘플을 획득하여 데이터를 분석하였다.
동력과 준설량의 상관 그래프 Fig. 15를 보면 2015년 11월 데이터와 유사한 경향을 보이고 있음을 알 수 있다. 2016년 1월에 실시한 테스트 사이트의 조건상 자갈이 많고, 밀도가 훨씬 높아 유속 및 준설량에 대한 인가동력이 2015년 11월에 비해 훨씬 많이 소모되었다.
여기서 관계된 파라미터의 변화를 보면 EMF 인가 전후 각각의 파라미터 변화를 확연히 알 수 있는데 특히 다음 Fig. 16에서 보여 지는 것처럼 EMF 인가 후 평균 유량 및 밀도가 증가하고 마찰에 의한 압력구배는 EMF 인가 후 감소되는 것으로 나타나고 있다.
다만 여기서 하부에서의 유속은 EMF 인가 전 상태가 인가 후보다 빠른 것을 알 수 있다. 즉 EMF 인가 후 유속은 느려지지만 밀도의 증가로 전체 유량, 즉 준설되어 송토 되어지는 흙의 양은 증가하고 있음을 알 수 있다. 배관 내 작동유체 내에 흙의 양이 증가하게 되면, 밀도가 증가하게 되고 따라서 전체 유체의 유속은 느려지게 된다. EMF에 의해 가장 영향 받는 부분은 Table 4 상에서는 유량의 변화부분이다.
Table 4. Flow parameter of Fluid | ||||
Hydraulic Gradient (m) | Flowrate (m3/min) | Density (kg/m3) | Fluid Velocity (m/sec) | |
Before | 336 | 55.78 | 1.16 | 2.64 |
After | 318 | 69.73 | 1.21 | 2.5 |
Ratio | 5.38% | 25.0% | 3.73% | -5.43% |
이러한 하부에서의 유속 증가의 영향은 기존 실험에서도 동일하게 나타나고 있으며(Kim et al., 2014), 이것은 Fig. 17에서와 같이 EMF 영향으로 인하여 하부에서 Clean flow 라고 하는 유동이 발생되고, 이렇게 하부의 유속이 증가하게 되면 침강했던 흙 입자들이 다시 부유하게 되어 배관 내에 전체적으로 흙의 양이 증가하게 된다.
또한 Slip layer 구간에서의 유속에서도 뚜렷한 전자기력의 효과가 나타나고 있음을 알 수 있다. 위의 그래프는 12mm 깊이의 구간에서 유속의 시간이력데이터로써 전자기력 인가 전후의 유속데이터 변화를 보여주고 있다.
5. 결과 분석 및 결론
본 실험은 기존 짧은 거리(500~1,000m)에서 EMF 전자기력의 영향이 배관 내 유체에 영향을 미치는가 하는 연구에서의 결과를 실 현장 규모(8,500m)에 적용한 것으로(Kim et al., 2014), 기존 실험에서는 주로 송토 유량 및 Slip layer 층에서의 유속변화에 주목하였으나, 본 실험에서는 실제 유체에 인가된 동력과 송토되는 준설량의 관계를 살펴봄으로써 EMF의 준설토 송토 시 미치는 영향에 대한 다음과 같은 결과를 도출할 수 있었다.
동일한 송토량의 경우에 전자기력을 인가하면 이후의 송토 유량이 30% 이상 증대된다. 또한 동일한 동력을 인가 할 경우에는 전자기력 인가 이후 송토량이 30% 가량 증가되는 것을 확인 하였다. 관내 압력은 5.35% 정도 저하되는 경향이 나타났으며, 유량이 전반적으로 20%정도 증가하였다.
결론적으로 전자기력을 이송 배관에 적용하면 동력 저감되며 그에 따라 이송효율이 30% 증대 되는 것을 기대 할 수 있다.
본 실험은 준설토 효율적 이송장치 개발의 일환으로써 진행된 현장 실험으로써 향후 테스트 베드를 기반으로 보다 많은 실 현장 데이터를 수집하여 경향 분석을 할 예정이다.

















